
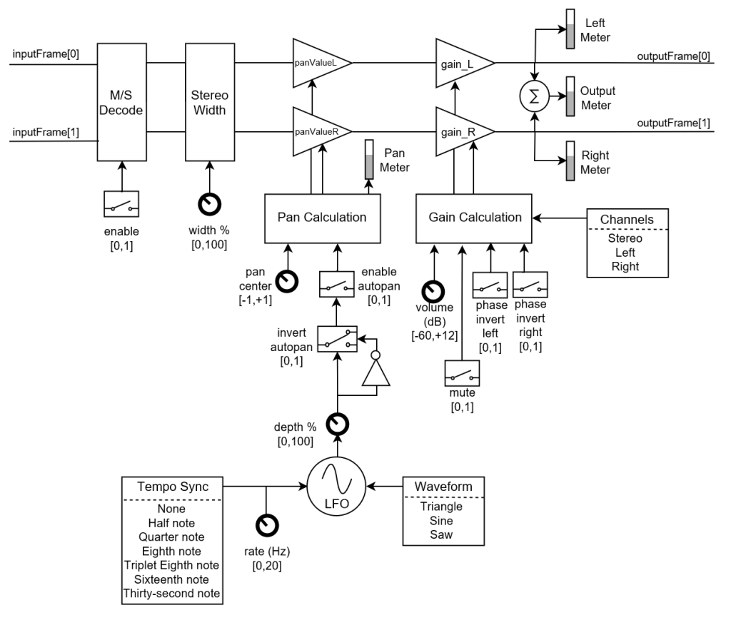
A simple plugin with an autopanner, as well as many basic audio processing functions.

Access the .rafx2 and C++ object files here: https://drive.google.com/drive/folders/15l00MdM9AO5LOLyJpguQbQa-HhH56iHi?usp=sharing
This is an audio effects processing plugin designed in C++ using RackAFX. See www.willpirkle.com for more.
